春亨产品中心
- 按产品特性分类
- 水平仪 偏心仪 角度计 直角尺 同心度仪 高速主轴 内外测卡规 打磨机 钻石膏 各种量表 磨刀石 研磨油石 切削刀具 研磨刷 研磨工具 磁性工具 放大镜 内视镜 卡尺 千分尺 圆周尺 扭力工具 针规 间隙规 速度测试 高度尺/计 测量工具 硬度计 段差尺 焊道规 V型座 磁性吸盘 推拉力计 吊重磁盘 工业胶粘剂 研磨抛光 钳类工具 旋具工具 热敏试纸 粘度计 电子称 金属锉刀 复制胶膜 螺帽规 背孔刀 气动主轴 自动换刀主轴 防静电主轴 MSIY电主轴 高精密主轴 大扭矩电主轴 高斯计 直角电主轴 进口百分表 扭力起子 中村扭力扳手 脱磁器 螺纹深度规 主轴增速刀柄 RBZ浮动主轴 中心出水电主轴 气浮主轴 螺纹规
- 按应用领域分类
- 工程机械 数控机床 汽车制造 电子/光电 橡胶皮革检测 船舶制造 实验室/研究院 纺织业 精加工 雕刻 珠宝首饰 陶瓷工业 抛光去毛刺 PCB分板机加工 铣削加工 钻孔动力头 医疗加工 走心机高频铣 浮动去毛刺 小径深孔加工
- 按品牌分类
- AAA ASKER B2 BOWERS CITIZEN DMT FUJITOOL FISSO FUJIGEN HONDA GLOI HEINE KANETEC IMADA KANON KAYDIAMOND KROEPLIN MEYER MARUI MITUTOYO NAKANISHI PEACOCK PEAK PHOENIX PI-TAPE RSK RHEINTACHO SK SPI SUN SUPERTECH SWAN UNIVERSAL NOVAPAX XEBEC WIXEY Teclock tohnichi 富士KOSOKU RUBICON KEIBA TAJIMA NIKON Stanley SPI Engeering MARKAL PTC TMC THERMAX RION SHINKO STAO佐藤 TSUBOSAN OSKAR SCHWENK MARK-10 Microset starrett EENPAIX OJIYAS DIGITECH ROECKLE tites swiss Yamato Cherry DAIWA RABIN MSIY NRS PPS NSK
相关资讯
- 日本NAKANISHI气动主轴工具油该如何选择?
- 汽车逆变器去毛刺,机械臂加装大扭矩主轴BMS-5010
- 勿让轮廓倒角阻碍效率提升-FUJIGEN倒角刀
- 阀箱交叉孔毛刺,用xebec交叉孔内孔刷
- AF30浮动主轴可实现360°全方位铝铸件去毛刺加工
- 蕴含大作用的打磨工具运用——NSK电动打磨机
- 微小孔加工难题,NAKANISHI高频铣帮您解决
- 精密数显带表内外卡规,就选德国kroeplin,大品牌!
- 十月网红款“超声波打磨机”为何备受消费者青睐?
- 为什么超过80%的客户使用RSK水平仪调试机床?
- 汽车轮毂自动化去毛刺,加装FT浮动去毛刺主轴
- 注塑件水口切割,用中西6万转自动换刀主轴
- 一款专为提高CNC转速而研发的高速电主轴(视频)
- 带表卡尺指针不稳定修理方法,再也不用自己掏钱维修啦
- 碳纤维轮廓披锋毛刺,用msiy-30浮动主轴去除
- 进口量具,挑战全年最低价
- 进口条式水平尺介绍
- peacock深孔内径测量仪EMCC系列,可测量孔深10米
- 日本ASKER橡胶硬度计——深圳市春亨工具总代理
- 浮动去毛刺主轴用电动的好还是气动的好?
咨询热线:
彩博888 13612997620
传真:彩博8880755-23033513
Q Q:
地址:深圳市宝安49区华创达文化科技产业园D栋507
产品详情
联系我们
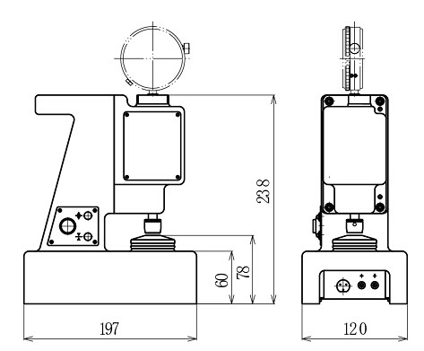
西铁城CITIZEN纸厚测定器MEI-11
产品应用:

IOS(新JIS)规格基准,可进行测试间隔1-9秒的连续自动测量,可选用配件中的脚踏开关,可用于测量软胶片,橡胶片等
产品说明:


产品规格:

| 型式 | MEI-10B | MEI-11 |
| 测定范围 | 0-2mm(3M-250只是范围为1mm) | |
| 测定精度 | 2um | |
| 测定压 | 54KPA | 100±KPA |
| 测定条件 | 测定落差0.6mm | 降下速度3mm/sec |
| 测头 | Φ14.3±0.5mm | Φ16±0.05mm |
| 测定台 | Φ17mm | |
| 电源 | - | AC100-240V 50/60Hz |

西铁城CITIZEN纸厚测定器|纸厚测量仪|测试座|内外径测定器
彩博888 订购:西铁城CITIZEN纸厚测定器MEI-11








1960544536 


