春亨产品中心
- 按产品特性分类
- 水平仪 偏心仪 角度计 直角尺 同心度仪 高速主轴 内外测卡规 打磨机 钻石膏 各种量表 磨刀石 研磨油石 切削刀具 研磨刷 研磨工具 磁性工具 放大镜 内视镜 卡尺 千分尺 圆周尺 扭力工具 针规 间隙规 速度测试 高度尺/计 测量工具 硬度计 段差尺 焊道规 V型座 磁性吸盘 推拉力计 吊重磁盘 工业胶粘剂 研磨抛光 钳类工具 旋具工具 热敏试纸 粘度计 电子称 金属锉刀 复制胶膜 螺帽规 背孔刀 气动主轴 自动换刀主轴 防静电主轴 MSIY电主轴 高精密主轴 大扭矩电主轴 高斯计 直角电主轴 进口百分表 扭力起子 中村扭力扳手 脱磁器 螺纹深度规 主轴增速刀柄 RBZ浮动主轴 中心出水电主轴 气浮主轴 螺纹规
- 按应用领域分类
- 工程机械 数控机床 汽车制造 电子/光电 橡胶皮革检测 船舶制造 实验室/研究院 纺织业 精加工 雕刻 珠宝首饰 陶瓷工业 抛光去毛刺 PCB分板机加工 铣削加工 钻孔动力头 医疗加工 走心机高频铣 浮动去毛刺 小径深孔加工
- 按品牌分类
- AAA ASKER B2 BOWERS CITIZEN DMT FUJITOOL FISSO FUJIGEN HONDA GLOI HEINE KANETEC IMADA KANON KAYDIAMOND KROEPLIN MEYER MARUI MITUTOYO NAKANISHI PEACOCK PEAK PHOENIX PI-TAPE RSK RHEINTACHO SK SPI SUN SUPERTECH SWAN UNIVERSAL NOVAPAX XEBEC WIXEY Teclock tohnichi 富士KOSOKU RUBICON KEIBA TAJIMA NIKON Stanley SPI Engeering MARKAL PTC TMC THERMAX RION SHINKO STAO佐藤 TSUBOSAN OSKAR SCHWENK MARK-10 Microset starrett EENPAIX OJIYAS DIGITECH ROECKLE tites swiss Yamato Cherry DAIWA RABIN MSIY NRS PPS NSK
相关资讯
- 2021年5月6日—8日,春亨工具参加2021年上海国际机床展!
- 【扭力起子】专业供应商春亨工具
- 铝铸件2mm余量毛刺,用哪款RBZ浮动主轴更便宜?
- 日本PEACOCK孔雀杠杆表
- 机械表机芯钻0.6mm微孔,走心机加装高频铣可实现
- NAKANISHI主轴在轮胎加工中的应用
- 细数日本NAKANISHI自动换刀主轴的特点及应用
- 买进口水平仪,就找中国总代理
- kroeplin带表外卡规的原理和使用方法
- 日本NSK快速换刀主轴NRR-3060与NRR3060-QC的区别
- 工艺品背后不可缺少的NSK打磨机
- 高尔夫球杆精细铣削,用6万转电主轴,满足出口品质
- 中西气动主轴外径25mm,多种数控车床可加装
- NAKANISHI气动主轴HTS1501S-BT40,转速15万
- 日本中西高速气浮轴承主轴NRAF-5080
- NAKANISHI中西气浮主轴ABT-1600,转速16万转
- Xebec交叉孔研磨棒:航空管件去毛刺的利器
- NAKANISHI高速动力头
- 中村kanon活动开口扳手,可在狭窄位置使用
- PCB分板机主轴选什么品牌好呢?
咨询热线:
13612997620
传真:彩博8880755-23033513
Q Q:
地址:深圳市宝安49区华创达文化科技产业园D栋507
产品详情
联系我们
日本RSK新泻理研740B02小型条式水平仪

日本RSK微型条式水平仪740B02,感度0.02mm/m,尺寸100mm长,重量0.15kg,是一款小型条式水平仪,应用于空间狭窄的位置使用,方便携带。
740B微型条式水平仪产品参数

| 型号 | 感度(mm/m) | 重量 |
| 740A05 | 0.05 |
0.19kg |
| 740A01 | 0.1 | |
| 740B02 | 0.02 |
彩博888 0.15kg |
| 740B05 | 0.05 | |
| 740B01 | 0.1 |
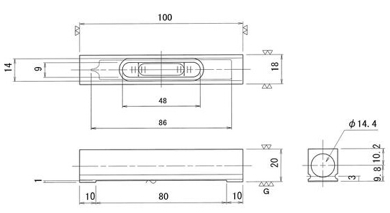
740B02条式水平仪产品尺寸图


740B02条式水平仪产品实拍


RSK水平仪,小型水平仪,740B02,RSK总代理
订购:RSK条式水平仪740B02








1960544536 