春亨产品中心
- 按产品特性分类
- 水平仪 偏心仪 角度计 直角尺 同心度仪 高速主轴 内外测卡规 打磨机 钻石膏 各种量表 磨刀石 研磨油石 切削刀具 研磨刷 研磨工具 磁性工具 放大镜 内视镜 卡尺 千分尺 圆周尺 扭力工具 针规 间隙规 速度测试 高度尺/计 测量工具 硬度计 段差尺 焊道规 V型座 磁性吸盘 推拉力计 吊重磁盘 工业胶粘剂 研磨抛光 钳类工具 旋具工具 热敏试纸 粘度计 电子称 金属锉刀 复制胶膜 螺帽规 背孔刀 气动主轴 自动换刀主轴 防静电主轴 MSIY电主轴 高精密主轴 大扭矩电主轴 高斯计 直角电主轴 进口百分表 扭力起子 中村扭力扳手 脱磁器 螺纹深度规 主轴增速刀柄 RBZ浮动主轴 中心出水电主轴 气浮主轴 螺纹规
- 按应用领域分类
- 工程机械 数控机床 汽车制造 电子/光电 橡胶皮革检测 船舶制造 实验室/研究院 纺织业 精加工 雕刻 珠宝首饰 陶瓷工业 抛光去毛刺 PCB分板机加工 铣削加工 钻孔动力头 医疗加工 走心机高频铣 浮动去毛刺 小径深孔加工
- 按品牌分类
- AAA ASKER B2 BOWERS CITIZEN DMT FUJITOOL FISSO FUJIGEN HONDA GLOI HEINE KANETEC IMADA KANON KAYDIAMOND KROEPLIN MEYER MARUI MITUTOYO NAKANISHI PEACOCK PEAK PHOENIX PI-TAPE RSK RHEINTACHO SK SPI SUN SUPERTECH SWAN UNIVERSAL NOVAPAX XEBEC WIXEY Teclock tohnichi 富士KOSOKU RUBICON KEIBA TAJIMA NIKON Stanley SPI Engeering MARKAL PTC TMC THERMAX RION SHINKO STAO佐藤 TSUBOSAN OSKAR SCHWENK MARK-10 Microset starrett EENPAIX OJIYAS DIGITECH ROECKLE tites swiss Yamato Cherry DAIWA RABIN MSIY NRS PPS NSK
相关资讯
- 日本ASKER【橡胶硬度计】
- 日本KANON中村指针式扭力起子
- 孔雀Peacock外测卡规LA-5,测量范围0-50mm
- 日本NAKANISHI高速主轴义齿加工假牙雕铣应用方案
- 买百分表选择什么品牌好?
- 津上走心机BO205加装高频铣BM-320,转速高达8万转
- 进口百分表怎么看?春亨告诉你使用方法和读数
- 去除塑料制品合模线?机械臂加装MSIY-30浮动主轴
- 常用的日本NAKANISHI走心机高频铣的型号有哪些?
- 瑞士Martin Tschopp 三针规使用方法详解
- 日本NSK钻孔主轴NR-303,PCB板领域专用
- 数显式扭力扳手选什么牌子好?
- NAKANISHI主轴马达EM25-5000-J4和EM25N-5000-J4区别
- 想给走心机配置高质量的主轴系统,日本NAKANISHI高频铣来帮你!
- 美国univer环球同心度仪的应用和选购
- MSIY-4030电主轴,外径40mm,功率600W,转速3万
- MSIY-2510无刷电主轴,外径25mm,功率180W
- FUJIGEN富士元倒角机适用范围
- 日本中西超高速气动精密主轴ABT-1000,小径刀具加工
- 孔雀测厚规的使用与注意事项
咨询热线:
彩博888 13612997620
传真:彩博8880755-23033513
Q Q:
地址:深圳市宝安49区华创达文化科技产业园D栋507
产品详情
联系我们
日本peacock孔雀针盘式百分表57
产品参数:

型号: 57
精度:0.01mm
量程:5.0mm
测头型号为:X-2
特性:凸背
产品尺寸:

型 式 | 目 量 | 测定范围 | 刻度规格 | 指示誤差 (μm) | 返回误差 | 重复 | 測定力 | ||||
1/10旋转(邻接误差) | 1/2旋转 | 1旋转 | 2旋转 | 全測定 | |||||||
107-HG | 0.01 | 10 | ±0 -50- 100 | 6 | ±7 | ±8 | ±10 | ±10 | 4 | 5 | 1.4 |
107-DX | 0.01 | 10 | ±0 -50- 100 | 8 | ±9 | ±10 | ±15 | ±15 | 5 | 5 | 1.4 |
107 | 0.01 | 10 | ±0 -50- 100 | 8 | ±9 | ±10 | ±15 | ±15 | 5 | 5 | 1.4 |
107F | 0.01 | 10 | ±0 -50- 100 | 8 | ±9 | ±10 | ±15 | ±15 | 5 | 5 | 1.4 |
107-SWA | 0.01 | 10 | ±0 -50- 100 | 8 | ±9 | ±10 | ±15 | ±15 | 5 | 5 | 1.4 |
107-BL | 0.01 | 10 | ±0 -50- 100 | 8 | ±9 | ±10 | ±15 | ±15 | 5 | 5 | 1.4 |
107-LL | 0.01 | 10 | ±0 -50- 100 | 8 | ±9 | ±10 | ±15 | ±15 | 5 | 5 | 1.4 |
107F-RE | 0.01 | 10 | ±0 -50- 100 | 8 | ±9 | ±10 | ±15 | ±15 | 5 | 5 | 1.4 |
107F-T | 0.01 | 10 | ±100 -50- 0 | 8 | ±9 | ±10 | ±15 | ±15 | 5 | 5 | 1.4 |
107-E | 0.01 | 10 | ±0 -50- 100 | 8 | ±9 | ±10 | ±15 | ±15 | 5 | 5 | 初圧 0.4 |
17 | 0.01 | 1 | 0 -50- 0 | 8 | ±9 | ±10 | -- | -- | 5 | 5 | 1.4 |
107W | 0.01 | 10 | ±0 -50- 100 | 8 | ±9 | ±10 | ±15 | ±15 | 5 | 5 | 1.4 |
57-SWA | 0.01 | 5 | ±0 -50- 100 | 8 | ±9 | ±10 | ±15 | ±15 | 5 | 5 | 1.4 |
57 | 0.01 | 5 | ±0 -50- 100 | 8 | ±9 | ±10 | ±15 | ±15 | 5 | 5 | 1.4 |
57F | 0.01 | 5 | ±0 -50- 100 | 8 | ±9 | ±10 | ±15 | ±15 | 5 | 5 | 1.4 |
57B | 0.01 | 5 | 0 -50- 0 | 8 | ±9 | ±10 | ±15 | ±15 | 5 | 5 | 1.4 |
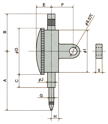
产品尺寸:

型 式 | A | B | C | D | E | F | G | H | I |
107-HG | 65 | 41.5 | 18.5 | 53 | 14.5 | 20 | 4 | 6.5 | 49 |
107-DX | 65 | 50.7 | 17 | 55.7 | 14.5 | 20 | 5 | 7 | 52 |
107 | 65 | 41.5 | 18.5 | 53 | 14.5 | 20 | 4 | 6.5 | 49 |
107F | 65 | 41.5 | 18.5 | 53 | 14.5 | -- | 4 | 6.5 | 49 |
107-SWA | 68 | 41.5 | 17.5 | 55 | 15 | 20 | 4 | 6.5 | 49 |
107-BL | 65 | 41.5 | 18.5 | 53 | 14.5 | 4 | 6.5 | 49 | |
107F-RE | 65 | 41.5 | 18.5 | 53 | 14.5 | 20 | 4 | 6.5 | 49 |
107-LL | 65 | -- | 18.5 | 53 | 14.5 | 20 | 4 | 6.5 | 49 |
107W | 65 | 41.5 | 17.5 | 55 | 17 | 20 | 4 | 6.5 | 49 |
107F-T | 65 | 41.5 | 18.5 | 53 | 14.5 | -- | 4 | 6.5 | 49 |
107-E | 65 | 41.5 | 18.5 | 53 | 14.5 | 20 | 4 | 6.5 | 49 |
17 | 65 | 41.5 | 18.5 | 53 | 14.5 | 20 | 4 | 6.5 | 49 |
57-SWA | 65 | 41.5 | 18.5 | 55 | 15 | 20 | 4 | 6.5 | 49 |
57 | 65 | 41.5 | 18.5 | 53 | 14.5 | 20 | 4 | 6.5 | 49 |
57F | 65 | 41.5 | 18.5 | 53 | 14.5 | -- | 4 | 6.5 | 49 |
57B | 65 | 41.5 | 18.5 | 53 | 14.5 | -- | 4 | 6.5 | 49 |

彩博888 订购:孔雀针盘式百分表57








1960544536 


