春亨产品中心
- 按产品特性分类
- 水平仪 偏心仪 角度计 直角尺 同心度仪 高速主轴 内外测卡规 打磨机 钻石膏 各种量表 磨刀石 研磨油石 切削刀具 研磨刷 研磨工具 磁性工具 放大镜 内视镜 卡尺 千分尺 圆周尺 扭力工具 针规 间隙规 速度测试 高度尺/计 测量工具 硬度计 段差尺 焊道规 V型座 磁性吸盘 推拉力计 吊重磁盘 工业胶粘剂 研磨抛光 钳类工具 旋具工具 热敏试纸 粘度计 电子称 金属锉刀 复制胶膜 螺帽规 背孔刀 气动主轴 自动换刀主轴 防静电主轴 MSIY电主轴 高精密主轴 大扭矩电主轴 高斯计 直角电主轴 进口百分表 扭力起子 中村扭力扳手 脱磁器 螺纹深度规 主轴增速刀柄 RBZ浮动主轴 中心出水电主轴 气浮主轴 螺纹规
- 按应用领域分类
- 工程机械 数控机床 汽车制造 电子/光电 橡胶皮革检测 船舶制造 实验室/研究院 纺织业 精加工 雕刻 珠宝首饰 陶瓷工业 抛光去毛刺 PCB分板机加工 铣削加工 钻孔动力头 医疗加工 走心机高频铣 浮动去毛刺 小径深孔加工
- 按品牌分类
- AAA ASKER B2 BOWERS CITIZEN DMT FUJITOOL FISSO FUJIGEN HONDA GLOI HEINE KANETEC IMADA KANON KAYDIAMOND KROEPLIN MEYER MARUI MITUTOYO NAKANISHI PEACOCK PEAK PHOENIX PI-TAPE RSK RHEINTACHO SK SPI SUN SUPERTECH SWAN UNIVERSAL NOVAPAX XEBEC WIXEY Teclock tohnichi 富士KOSOKU RUBICON KEIBA TAJIMA NIKON Stanley SPI Engeering MARKAL PTC TMC THERMAX RION SHINKO STAO佐藤 TSUBOSAN OSKAR SCHWENK MARK-10 Microset starrett EENPAIX OJIYAS DIGITECH ROECKLE tites swiss Yamato Cherry DAIWA RABIN MSIY NRS PPS NSK
相关资讯
- 中西NAKANISHI气悬浮主轴ABT-1600加工视频
- 走心机钻0.9mm小孔有毛刺?加装高频铣动力头可解决
- 热敏试纸便捷测试应用实例
- 自动化铝合金铣削用日本NAKANISHI自动换刀主轴
- 日本ASKER橡胶硬度计的广泛应用
- 高速主轴RAS-151E立铣刀φ10㎜钻孔铣削应用
- 西铁城走心机CincomB12加装高频铣BM-319
- PCB分板机为何选择日本NSK主轴?
- 不可或缺的机床校准工具——RSK水平仪
- Nakanishi中西打磨机IH-300打磨头,镜面抛光视频
- 春亨工具为孔雀PEACOCK精密量表一级代理商
- NAKANISHI打磨机US-25PBS
- 刀辊模具高光用nakanishi高速电主轴,转速8万转
- 如何正确检测设备中的两个距离较远部位间是否平行?
- 6轴机器人加装4万转自动换刀主轴去除钢件毛刺
- 德国kroeplin数显内卡规L230,凹槽精密测量仪器
- CNC机床增速器:选择日本NAKANISHI高速主轴
- NAKANISHI中西空气主轴和电主轴哪个精度高?
- xebec研磨刷套筒,可自动调节研磨刷长度(视频)
- 100mm研磨刷去表面毛刺,用MSI自动换刀大扭矩主轴
咨询热线:
13612997620
传真:彩博8880755-23033513
Q Q:
地址:深圳市宝安49区华创达文化科技产业园D栋507
产品详情
联系我们
日本PEACOCK孔雀指针式千分表5F
产品特点:

测头连接微型轴承,提升了测量的稳定性和敏感度。
O型环设计提高了防水和防油性。
淬火硬化,强度大。
凸背,可旋转90°使用。
产品参数:

型号: 5F
精度:0.001mm
量程:1.0mm
测头型号为:X-1
特性:平背
型 式 | 目 量 | 测定范围 | 刻度规格 | 指示誤差 (μm) | 返回误差 | 重复 | 測定力 | ||||
1/10旋转 | 1/2旋转 | 1旋转 | 2旋转 | 全測定 | |||||||
5B-HG | 0.001 | 1 | 0 - 100 - 0 | 2 | ±2 | ±3 | ±3 | ±3 | 2 | 0.5 | 1.5 |
5B | 0.001 | 1 | 0 - 100 - 0 | 2.5 | ±3 | ±4 | ±4 | ±5 | 3 | 0.5 | 1.5 |
5F | 0.001 | 1 | 0 - 100 - 0 | 2.5 | ±3 | ±4 | ±4 | ±5 | 3 | 0.5 | 1.5 |
5-DX | 0.001 | 1 | 0 - 100 - 0 | 2.5 | ±3 | ±4 | ±4 | ±5 | 3 | 0.5 | 1.5 |
5-SWF | 0.001 | 1 | 0 - 100 - 0 | 2.5 | ±3 | ±4 | ±4 | ±5 | 3 | 0.5 | 1.5 |
25 | 0.001 | 2 | ±0 - 100 - 0 | 4 | ±5 | ±6 | ±6 | ±7 | 3 | 0.5 | 1.5 |
25S | 0.001 | 2 | 0 - 100 - 0 | 4 | ±5 | ±6 | ±6 | ±7 | 3 | 0.5 | 1.5 |
25F-RE | 0.001 | 2 | ±0 - 100 - 0 | 4 | ±5 | ±6 | ±6 | ±7 | 3 | 0.5 | 1.5 |
55 | 0.001 | 5 | 0 - 100 - 0 | 5 | ±6 | ±7 | ±8 | ±10 | 4 | 1 | 1.5 |
55-DX | 0.001 | 5 | 0 - 100 - 0 | 5 | ±6 | ±7 | ±8 | ±10 | 4 | 1 | 1.5 |
56 | 0.005 | 5 | 0 - 25 - 50 | 6 | ±10 | ±10 | ±12 | ±12 | 5 | 5 | 1.5 |
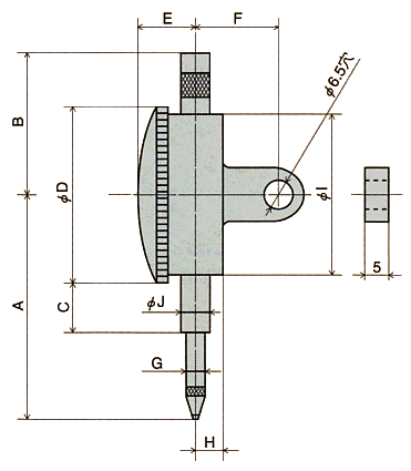
产品尺寸:

型 式 | A | B | C | D | E | F | G | H | I | J |
5B-HG | 60 | 41.5 | 18.5 | 53 | 14.5 | 20 | 4 | 6.5 | 49 | 8.0 |
5-DX | 60 | 42.6 | 17 | 55.7 | 14.5 | 20 | 5 | 7 | 52 | 8.0 |
5B | 60 | 41.5 | 18.5 | 53 | 14.5 | 20 | 4 | 6.5 | 49 | 8.0 |
5F | 60 | 41.5 | 18.5 | 53 | 14.5 | -- | 4 | 6.5 | 49 | 8.0 |
5-SWF | 63 | 41.5 | 17.5 | 55 | 15 | 20 | 4 | 6.5 | 49 | 8.0 |
25 | 72 | 42 | 25 | 66.5 | 14.5 | 20 | 4 | 7.5 | 62.5 | 8.0 |
25F-RE | 72 | 41 | 25 | 66.5 | 14.5 | -- | 4 | 7.5 | 62.5 | 8.0 |
25S | 60 | 42.6 | 17 | 55.7 | 14.5 | 20 | 5 | 7 | 52 | 8.0 |
55 | 73 | 52 | 25 | 66 | 17 | 20 | 4.5 | 7 | 62.5 | 8.0 |
55-DX | 62 | 44.5 | 17 | 57 | 17 | 19.5 | 4.5 | 6.5 | 52 | 8.0 |
56 | 62 | 44.5 | 17 | 57 | 17 | 19.5 | 4.5 | 6.5 | 52 | 8.0 |

订购:孔雀指针式千分表5F








1960544536 


