春亨产品中心
- 按产品特性分类
- 水平仪 偏心仪 角度计 直角尺 同心度仪 高速主轴 内外测卡规 打磨机 钻石膏 各种量表 磨刀石 研磨油石 切削刀具 研磨刷 研磨工具 磁性工具 放大镜 内视镜 卡尺 千分尺 圆周尺 扭力工具 针规 间隙规 速度测试 高度尺/计 测量工具 硬度计 段差尺 焊道规 V型座 磁性吸盘 推拉力计 吊重磁盘 工业胶粘剂 研磨抛光 钳类工具 旋具工具 热敏试纸 粘度计 电子称 金属锉刀 复制胶膜 螺帽规 背孔刀 气动主轴 自动换刀主轴 防静电主轴 MSIY电主轴 高精密主轴 大扭矩电主轴 高斯计 直角电主轴 进口百分表 扭力起子 中村扭力扳手 脱磁器 螺纹深度规 主轴增速刀柄 RBZ浮动主轴 中心出水电主轴 气浮主轴 螺纹规
- 按应用领域分类
- 工程机械 数控机床 汽车制造 电子/光电 橡胶皮革检测 船舶制造 实验室/研究院 纺织业 精加工 雕刻 珠宝首饰 陶瓷工业 抛光去毛刺 PCB分板机加工 铣削加工 钻孔动力头 医疗加工 走心机高频铣 浮动去毛刺 小径深孔加工
- 按品牌分类
- AAA ASKER B2 BOWERS CITIZEN DMT FUJITOOL FISSO FUJIGEN HONDA GLOI HEINE KANETEC IMADA KANON KAYDIAMOND KROEPLIN MEYER MARUI MITUTOYO NAKANISHI PEACOCK PEAK PHOENIX PI-TAPE RSK RHEINTACHO SK SPI SUN SUPERTECH SWAN UNIVERSAL NOVAPAX XEBEC WIXEY Teclock tohnichi 富士KOSOKU RUBICON KEIBA TAJIMA NIKON Stanley SPI Engeering MARKAL PTC TMC THERMAX RION SHINKO STAO佐藤 TSUBOSAN OSKAR SCHWENK MARK-10 Microset starrett EENPAIX OJIYAS DIGITECH ROECKLE tites swiss Yamato Cherry DAIWA RABIN MSIY NRS PPS NSK
相关资讯
- NSK高速主轴为国产机床发展创造机遇
- 铝铸件大余量毛刺用什么工具去除?MSIY-80浮动主轴!
- 压铸铝去合模线,机械臂加装MSIY-40浮动主轴
- 自动换刀主轴NR-3060AQC内孔去毛刺(视频)
- Peacock孔雀数显厚度计G2N-255,精度0.001mm
- 飞机设备管件(十字孔)去毛刺,用XEBEC研磨棒
- 高频铣控制器如何调速?nakanishi代理商给您支招!
- 想买60000转的高速电主轴,看这里!
- KANON预置式中村扭力起子
- 数控车床加装NAKANISHI气动主轴可进行端面钻孔加工
- 孔径0.1mm,孔精度3μ喷油嘴用高频铣可以加工吗?
- 什么材质的磨刀石比较适用于冰刀?
- NAKANISHI主轴为高速加工机保驾护航
- 走心机铣钛合金梅花,加装中西NAKANISHI高频铣
- 加装高频铣服务于客户,春亨工具是专业的!
- 合金钢齿轮倒角去毛刺加工,选大扭矩电主轴
- 日本RSK气泡水平仪气泡调整方法
- 中西NSK高速主轴应用涉及行业
- 日本OJIYAS螺纹环规、塞规——春亨工具总代理
- 进口TECLOCK得乐量表,满足您全方位需求
咨询热线:
13612997620
传真:彩博8880755-23033513
Q Q:
地址:彩博888深圳市宝安49区华创达文化科技产业园D栋507
产品详情
联系我们
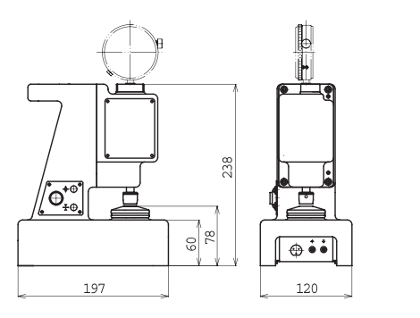
西铁城citezen纸张厚度测定器MEI-1

原装进口西铁城citezen纸张厚度测定器MEI-1,采用ISO规格标准,可进行测定间隔1-9s,可连续自动测量,可用于测量纸张,软胶片、橡胶片等厚度。
西铁城纸厚测定器产品参数
| 型号 | MEI-1 |
| 测量范围 | 0-2mm |
| 指示精度 | 2μm |
| 测定力 | 100±10KPa |
| 测量条件 | 下降速度3mm/sec |
| 测头 | φ16±0.05mm |
| 测定台 | φ17mm |
西铁城纸厚测定器尺寸

纸张厚度测定器
彩博888 订购:西铁城纸张厚度测定器
跟此产品相关的产品








1960544536